
سایز های ورودی: "1/ “½1/ “¼1 /"2 /“½2/ "3 / "4 / "5
نوع آب بندی:Steel + stainless steel + bronze + PTFF
جنس بدنه: چدن، داکتیل GGG60 / GGG40، فولاد و برنج
قابل تنظیم از فشار 1 تا 25 بار
دارای دو سال گارانتی
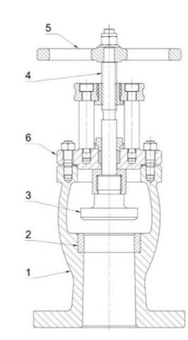
شیر اصلی خروجی بخار دیگ بخار MSM (Main Steam Stop Valve) | شیرآلات دیگ بخار مرتضایی
شیر اصلی خروجی بخار دیگ بخار که در صنعت با نام Main Steam Stop Valve یا Main Steam Valve شناخته میشود، یکی از مهمترین و حیاتیترین شیرآلات کنترلی در سیستم دیگ بخار صنعتی است. این شیر در مسیر خروجی بخار از دیگ نصب شده و وظیفه آن کنترل، قطع و وصل ایمن جریان بخار تولیدشده به سمت مصرفکننده یا شبکه بخار میباشد.
عملکرد صحیح شیر اصلی خروجی بخار نقش مستقیمی در ایمنی بهرهبرداری، کنترل فرآیند، جلوگیری از شوکهای فشاری و محافظت از تجهیزات پاییندست دارد.
شرکت مرتضایی MSM بهعنوان تولیدکننده تخصصی شیرآلات دیگ بخار مرتضایی، انواع شیر اصلی خروجی بخار دیگ بخار صنعتی را با طراحی مهندسی دقیق، متریال صنعتی باکیفیت و کنترل کیفی چندمرحلهای تولید مینماید.
اهمیت استفاده از شیر اصلی خروجی بخار استاندارد
شیر اصلی خروجی بخار، اولین شیر کنترلی پس از دیگ بخار محسوب میشود و نقش کلیدی در ایمنی کل سیستم بخار دارد. استفاده از شیر نامناسب یا بیکیفیت میتواند منجر به:
• ناتوانی در قطع سریع بخار در شرایط اضطراری
• افزایش ریسک نشتی و هدررفت انرژی
• آسیب به خطوط بخار و تجهیزات مصرفکننده
• کاهش ایمنی اپراتورها
شیر اصلی خروجی بخار استاندارد، این ریسکها را بهطور کامل کنترل مینماید.
خرید شیر اصلی خروجی بخار دیگ بخار (Main Steam Stop Valve) از تولیدکننده
در صورت نیاز به خرید شیر اصلی خروجی بخار دیگ بخار صنعتی استاندارد و مطمئن، شرکت MSM امکان تأمین مستقیم محصول از کارخانه را بدون واسطه فراهم کرده است.
قیمت Main Steam Stop Valve بر اساس فشار کاری، دمای بخار، سایز، نوع اتصال و جنس متریال تعیین شده و بهصورت کاملاً سفارشی متناسب با شرایط کاری دیگ بخار ارائه میگردد.
چرا شیر اصلی خروجی بخار MSM انتخاب حرفهایهاست؟
• تولید مستقیم توسط کارخانه شیرآلات دیگ بخار مرتضایی MSM
• طراحی ویژه برای بخار اشباع و بخار فوقگرم
• آببندی مطمئن و عملکرد پایدار در دما و فشار بالا
• قابلیت قطع سریع جریان بخار در شرایط اضطراری
• ۲ سال گارانتی بیقید و شرط + خدمات پس از فروش مادامالعمر
• امکان تولید سفارشی مطابق مشخصات فنی پروژه
نحوه عملکرد شیر اصلی خروجی بخار دیگ بخار MSM
شیر اصلی خروجی بخار MSM بهگونهای طراحی شده است که:
• در مسیر مستقیم خروج بخار از دیگ نصب میشود
• امکان باز و بسته شدن نرم و کنترلشده جریان بخار را فراهم میکند
• در حالت بسته، آببندی کامل داشته و از نشتی بخار جلوگیری مینماید
• در شرایط اضطراری، امکان قطع سریع بخار را برای اپراتور فراهم میسازد
این عملکرد دقیق، ایمنی سیستم بخار و کنترل فرآیند تولید را تضمین میکند.
تست و کنترل کیفیت شیر اصلی خروجی بخار MSM
کلیه شیرهای اصلی خروجی بخار دیگ بخار MSM قبل از تحویل، تحت تستهای کامل فنی قرار میگیرند:
تست فشار بدنه
بررسی استحکام بدنه در فشار کاری تعیینشده.
تست عملکرد باز و بسته شدن
اطمینان از عملکرد روان، بدون گیرکردن و پایدار شیر.
تست نشتی و آببندی
کنترل کامل نشتی در حالت بسته جهت جلوگیری از هدررفت بخار و انرژی.
مشخصات فنی شیر اصلی خروجی بخار دیگ بخار MSM
• نوع شیر: Main Steam Stop Valve / Main Steam Valve
• نوع عملکرد: دستی (Handwheel)
• نوع اتصال: رزوهای / فلنجی
• سایز: از ۳/۴ اینچ تا ۵ اینچ
• محدوده فشار کاری: متناسب با فشار کاری دیگ بخار
• دمای کاری: مناسب بخار اشباع و بخار فوقگرم
• متریال بدنه: چدن، چدن داکتیل، آهن، فولاد، برنج
• متریال قطعات داخلی: استنلس استیل / فولاد سختکاریشده
• آببندی: فلز به فلز / آببندی تقویتشده
• تست قبل از تحویل: ۱۰۰٪ تست فشار و نشتی
(کلیه مشخصات فنی قابل سفارشیسازی بر اساس نیاز پروژه میباشند.)
امکان تولید شیر اصلی خروجی بخار روی انواع متریال صنعتی
شرکت مرتضایی MSM امکان تولید شیر اصلی خروجی بخار دیگ بخار را بر اساس شرایط کاری روی متریالهای زیر فراهم مینماید:
• چدن
• چدن داکتیل
• آهن
• فولاد
• برنج
انتخاب جنس بدنه بر اساس فشار، دما، نوع بخار و الزامات ایمنی پروژه انجام میشود.
۲ سال گارانتی بیقید و شرط شیر اصلی خروجی بخار MSM
تمامی شیرهای اصلی خروجی بخار دیگ بخار MSM دارای ۲ سال گارانتی بیقید و شرط میباشند.
این گارانتی شامل سلامت بدنه، عملکرد صحیح مکانیزم داخلی و آببندی کامل بوده و در صورت بروز هرگونه ایراد ناشی از تولید، محصول بدون هیچ شرط اضافی بررسی و رفع عیب خواهد شد.
کاربردهای شیر اصلی خروجی بخار دیگ بخار
• دیگهای بخار صنعتی
• خطوط اصلی بخار کارخانهها
• صنایع غذایی، دارویی و نساجی
• نیروگاهها و تأسیسات حرارتی
• سیستمهای بخار فرآیندی
شیر اصلی دیگ بخار یکی از تجهیزات ضروری در سیستمهای دیگ بخار است که وظیفه قطع و وصل یا تنظیم جریان بخار یا آب دیگ را بر عهده دارد. این شیر در انواع دیگها و همچنین در صنایع مختلف مورد استفاده قرار میگیرد.
بدنه:
شرکت ماشین سازی مرتضایی یکی از تولیدکنندگان پیشرو در زمینه شیرآلات صنعتی در ایران است. این شرکت با بیش از 25 سال تجربه در تولید شیرهای اصلی دیگ بخار، محصولاتی با کیفیت، ایمن و کارآمد را به بازار عرضه میکند.
شیرهای اصلی دیگ بخار تولیدی شرکت مرتضایی از جنس چدن داکتیل GGG40 (نشکن) ساخته میشوند. این شیرها با محور استیل ضدزنگ و قطعات آببندی از استیل ضدزنگ و PTFE باکیفیت عالی تولید میشوند.
شیرهای اصلی دیگ بخار مرتضایی در سایزهای ¾، 1، ¼1، ½1، 2، ½2، 3 و 4 اینچ تولید میشوند. این شیرها قابلیت تحمل فشار از 1 تا 17 بار فشار کاری را دارند.
شیرهای اصلی دیگ بخار مرتضایی دارای ویژگیهای زیر هستند:
کیفیت بالا:
شیرهای اصلی دیگ بخار مرتضایی از مواد اولیه باکیفیت و با دقت بالا ساخته میشوند. این شیرها دارای عمر طولانی و عملکردی مطمئن هستند.
ایمنی:
شیرهای اصلی دیگ بخار مرتضایی از بروز حوادث و آسیبهای احتمالی جلوگیری میکنند. این شیرها از قطع و وصل ناگهانی و غیرقابل کنترل بخار یا آب دیگ جلوگیری میکنند.
کارایی:
شیرهای اصلی دیگ بخار مرتضایی به راحتی نصب و راهاندازی میشوند. این شیرها عملکردی آسان و بدون دردسر دارند.
کاربرد:
شیرهای اصلی دیگ بخار در صنایع مختلف، از جمله صنایع نفت و گاز، صنایع غذایی و نوشیدنی، صنایع شیمیایی و صنایع تولید انرژی، استفاده میشوند. این شیرها به حفظ ایمنی و عملکرد تجهیزات صنعتی کمک میکنند.
نتیجه گیری:
شیرهای اصلی دیگ بخار مرتضایی محصولی کارآمد و ایمن برای صنایع مختلف هستند. این شیرها با کیفیت بالا، ایمنی و کارایی، میتوانند به حفظ ایمنی و عملکرد تجهیزات صنعتی کمک کنند.
تعهد به کیفیت و نوآوری در شیرآلات دیگ بخار مرتضایی MSM
شیرآلات دیگ بخار مرتضایی MSM: استانداردی نوین در صنعت گرمایش
شیرآلات دیگ بخار مرتضایی MSM، با بیش از دو دهه تجربه صنعت، نه تنها به عنوان یک محصول بلکه به عنوان یک استاندارد در کیفیت و اطمینان شناخته شدهاند. این شیرآلات، که برای قطع و وصل دقیق جریان بخار یا آب در دیگهای بخار طراحی شدهاند، در انواع مختلف دیگها و در صنایع گوناگون به کار میروند.
شیرآلات دیگ بخار مرتضایی MSM، با تکیه بر دانش فنی پیشرفته و تجربهای طولانی، محصولاتی را ارائه میدهند که نمادی از ایمنی و کارایی هستنداین شیرآلات در سایزهای متنوع و با توانایی تحمل فشارهای مختلف، پاسخگوی نیازهای متفاوت صنایع هستند.





